以色列AMIAD 阿米尔德M104XLP/M106XLP/M108LP/M110P 型网式过滤器
以色列AMIAD 阿米尔德M104XLP/M106XLP/M108LP/M110P 型网式过滤器
产品价格:¥面议(人民币)
  • 供应数量:100
  • 发货地:上海-金山区
  • 最小起订量:1件
  • 免费会员
    会员级别:免费会员
    认证类型:企业认证
    企业证件:通过认证

    商铺名称:上海成缓实业有限公司

    联系人:王媛(小姐)

    联系手机:

    固定电话:

    企业邮箱:shchsy@126.com

    联系地址:上海金山区张堰镇松金公路2514号

    邮编:201514

    联系我时,请说是在百强农机网上看到的,谢谢!

    商品详情

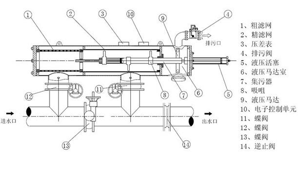
      以色列AMIAD 阿米尔德M104XLP/M106XLP/M108LP/M110P
      型网式过滤器

      Amiad过滤系统公司成立于1962年,长期以来在水过滤领域一直处于主导地位。从重工业及市政设备到耐用的家用园景过滤器,AMIAD已为超过70多个国家提供创造性的过滤解决方案,以满足他们对洁净水的需求。Amiad的水处理系统不仅仅是高新和可靠的,更重要的是它的环保性:无需添加化学制品、无需添加聚合物、最小的清洗水消耗、减少能源需求-Amiad有很多产品甚至不需要外接电源。AMAID具有一系列完整的过滤解决方案:塑料、钢制、叠片及线盒;手动到全自动;过滤精度从3500微米到2微米——Amiad能为几乎所有的需求提供过滤解决方案。Amiad的过滤器已经应用在全球超过70多个国家,涵盖的领域有:农业及景区灌溉、水产业、工业水处理、工业废水处理、市政水处理(饮用水和废水处理)、用于保护昂贵的滤料及反渗透系统之前的预过滤。

       

      型号M104XLP/M106XLP/M108LP/M110P
      技术参数

      流量:400M3/小时(1760美国加仑)

      /出口尺寸:4/6/8"/10"

      标准过滤度 50030020013010080微米

      工作压力 2公斤(30磅)较低压力

      工作压力 8公斤(116磅)

      工作温度 55°C131°C

       



    在线询盘/留言
  • 0571-87774297